Wiltec Skimmer Set

Livré entre ven, 17/4 et mer, 22/4
Plus de 10 pièces en stock chez le fournisseur tiers
Offre de
WilTec DE
livraison gratuite

Informations sur le produit

Avec cet ensemble de skimmer, vous obtenez un skimmer encastré pratique, y compris une buse d'entrée. Le skimmer est installé au bord de la piscine et connecté à une pompe (non incluse). L'eau de la piscine s'écoule par l'ouverture d'aspiration dans le skimmer, et les impuretés telles que les feuilles, les herbes ou les insectes tombés dans l'eau sont capturées dans le grand panier à débris. L'eau préfiltrée est ensuite dirigée vers la pompe pour y être filtrée. Enfin, l'eau est renvoyée dans la piscine. Cependant, même sans connexion à une pompe, le skimmer collecte les corps étrangers à la surface de l'eau. Les plus grosses impuretés sont retenues dans le panier filtrant et doivent être enlevées manuellement.

Un tel skimmer garantit une eau propre et claire et ne devrait manquer dans aucune piscine. En collectant les impuretés avant qu'elles ne coulent au fond, il réduit la formation d'algues. Que ce soit avec ou sans connexion à une pompe, les grosses particules comme les feuilles doivent être enlevées régulièrement pour ne pas nuire à l'efficacité du skimmer.

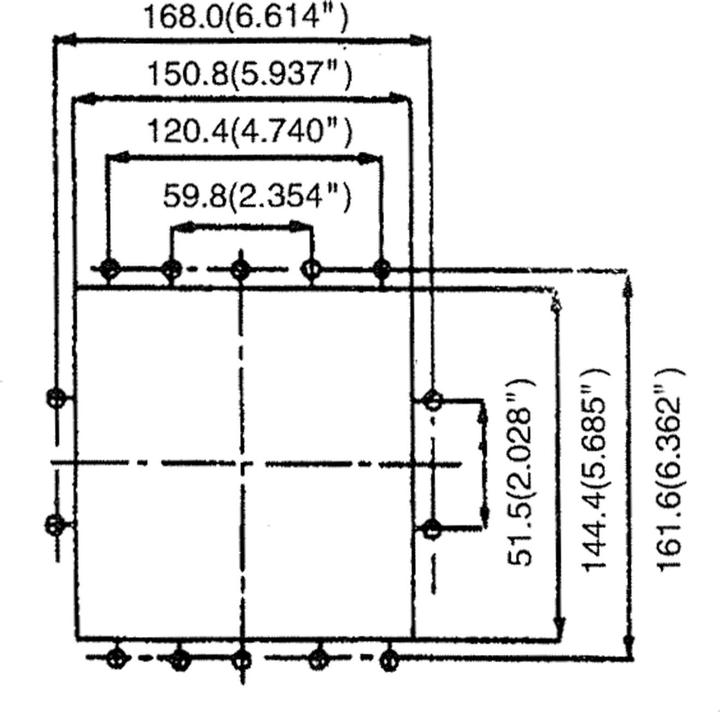
Le skimmer est conçu pour une utilisation dans des piscines à parois en acier. Si votre piscine ne dispose pas d'un pré-perçage pour installer le skimmer, utilisez simplement le joint fourni comme gabarit. De cette manière, vous pouvez découper un trou approprié dans la paroi en acier de la piscine à l'aide de ciseaux à métaux et d'un spray de zinc (non inclus) pour monter le skimmer.

Spécifications principales

Longueur
33 cm
Largeur
23 cm

Informations générales

Numéro d'article
45835282
Fabricant
Wiltec
Catégorie
Piscine : accessoires
Réf. du fabricant
62546
Date de sortie
15/5/2024
Classement des ventes dans Catégorie Piscine : accessoires
30 de 3753

Couleur

Couleur
Blanc
Couleur exacte
Blanc

Propriétés de l'accessoire pour piscine

Type d'accessoires de piscine
Pièces de rechange pour piscines

Provenance

Pays d'origine
Chine

Contribution climatique volontaire

CO₂-Emission
1.05 kg
Contribution climatique
CHF 0.11

Dimensions du produit

Longueur
33 cm
Largeur
23 cm
Hauteur
25 cm

Droit de retour de 30 jours
24 mois Garantie (Bring-in)
1 offre supplémentaire

Comparer les produits

Convient

Critiques et opinions

Taux de recours en garantie

La fréquence à laquelle un produit de cette marque dans la catégorie « Piscine : accessoires » présente un défaut au cours des 24 premiers mois.

Source: Digitec Galaxus
  • 3.Poolking
    0.1 %
  • 3.vidaXL
    0.1 %
  • 3.Wiltec
    0.1 %
  • 6.Bestway
    0.2 %
  • 6.Colibri
    0.2 %

Durée de la garantie

Le temps moyen de traitement entre l'arrivée au point de service et le retour chez le client, en jours ouvrables.

Source: Digitec Galaxus
  • Wiltec
    Données insuffisantes
  • 1.Arebos
    0 jour
  • 1.TFA
    0 jour
  • 1.Water ID
    0 jour
  • 4.Bestway
    36 jours

Taux de retour

Fréquence à laquelle un produit de cette marque est retourné dans la catégorie « Piscine : accessoires ».

Source: Digitec Galaxus
  • 9.Poolking
    1.7 %
  • 10.Water ID
    1.9 %
  • 11.Wiltec
    2 %
  • 12.Bestway
    2.3 %
  • 13.Darlly
    2.4 %
Source: Digitec Galaxus